Saturday May 2026

হটলাইন

কনটেন্টটি শেষ হাল-নাগাদ করা হয়েছে: সোমবার, ২৩ সেপ্টেম্বর, ২০১৩ এ ০৭:২৯ PM

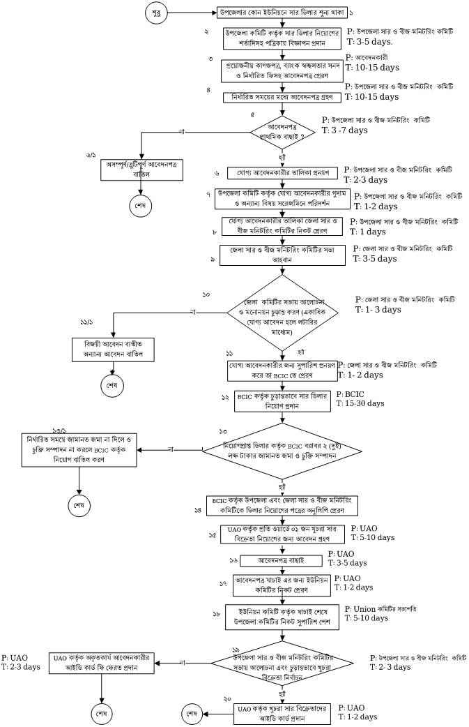
সার ডিলার ও খুচরা সার বিক্রেতা নিয়োগ

কন্টেন্ট: সেবা এবং ধাপ

ফাইল ১

এক্সেসিবিলিটি

স্ক্রিন রিডার ডাউনলোড করুন